| 
			 RÜCKZUGFEDERN DER  DROSSELKLAPPE ERSETZEN Ausführung mit Zugfeder: Federn aushängen. Achtung! Nur Federn mit 19 Windungen verwenden. |  | 
| 
			 Ausführung mit Drehfeder: Luftfiltergehäuse ausbauen 13 71 000. Stange (1) und bei Ausführung mit Automatic- Getriebe Gasseilzug (2) aushängen. Sicherung (3) ausheben und Ausgleichscheibe (4) abnehmen. Kniehebel (5) mit Büchsen (6) abnehmen.  13 71 000 |  | 
| 
			 Gestänge (7) lösen. Feder (3) ausheben. Sicherung (9) ausheben und Betätigungshebel (10) mit Buchsen (11) und Feder (8) abnehmen. |  | 
| 
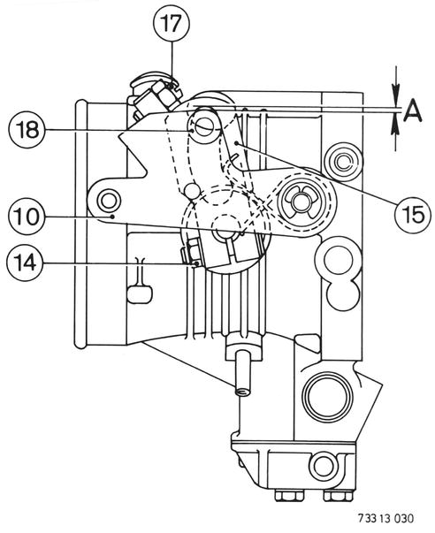
			 Einbauhinweis: Wellscheibe (12) beachten. Lagerstellen und Gleitbahn mit Longterm 2 fetten. Feder (13) ausheben und Klemmschrauben (14) lösen. Drosselhebel (15) abheben. |  | 
| 
			 Feder (13) über den Bund der Hülse (16) ausheben. |  | 
| 
			 Einstellung: Drosselhebel (15) und Betätigungshebel (10) einbauen und Federn einhängen. Die Klemmschraube (14) bleibt locker. Anschlagschraube (17) zurückdrehen. Drosselklappe fest zudrücken. Anschlagschraube (17) soweit hineindrehen, bis zwischen Rolle (18) und Kulisse ca. 0,5 ... 1 mm Spiel (A) ist. Klemmschraube (14) festziehen. Anschlagschraube (17) eine weitere Umdrehung hineindrehen und mit Mutter kontern. Drosselklappenschalter einstellen 13 63 544. Motorleerlauf einstellen 13 00 054.  13 63 544  13 00 054 |  | 







