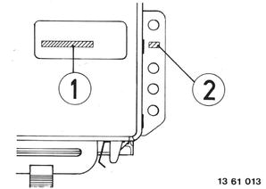
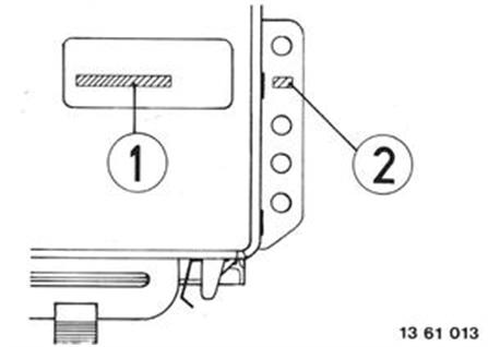
Vehicles after change point in 1982 REMOVING AND INSTALLING CONTROL UNIT Open the glove box. Lift out retainer (1). Pull off pin (2) of both retaining straps. | ![]() |
Push back lock (1) and pull out multiple pin plug (2). Installation: Plug (3) must be connected. Check for correct connection of plugs (polarity). Relay (4) = fuel pump relay Relay (5) = master relay | ![]() |
Plug connections - see wiring diagram or Group 12. | ![]() |
Unscrew both screws on left and right sides of the control unit. Installation: Adjust engine idle speed - see 13 00 054. 13 00 054
| ![]() |
Installation: Check code number (1)* and manufacturing date (2)*. * See Specifications and Nominal Value Microfiche
| ![]() |
Important! M 6 cars have a black plug and a blue plug in the wire harness for the Motronic control unit. The black plug (1) must be connected, while the blue plug (2) remains open. | ![]() |



13 00 054

