REPLACING CONTROL UNIT Open glove compartment. Slide back cover. Press back lock (1) and pull out multiple plug (2) to the right. Important: Turn off ignition before pulling off control unit plug. | ![]() |
![]() |
|
Important: Plug connector (3) of cars registered in the State of Colorado must be connected. This will reduce the injection time and effect a leaner fuel/air mixture by about 6 %. | ![]() |
CONTROL UNIT SURVEY u 5 ###Model###Bosch Order No.###BMW Part No.###BMW Exchange No.###Color of Data Plate### ###630 i###0 280 001 106###1 362 643###1 362 647###black ###633 i to 9.79###0 280 001 111###1 364 746###1 266 664###black ###633 i from 9.79###0 280 001 122###1 292 106###1 272 132###medium blue | |
Vehicles after change point in 1982 REMOVING AND INSTALLING CONTROL UNIT Open glove box. Lift out clamps (1). Pull off pins (2) of both retaining straps. | ![]() |
Unscrew trim panel. | ![]() |
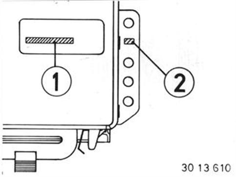
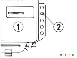
Push back retainer (1) and pull off plug (2). Unscrew four mounting screws and take off control unit. | ![]() |
Connect plugs according to wiring diagram. | ![]() |
Installation: Check code number (1)* and manufacturing date (2)*. * See Specifications and Nominal Value Microfiche
| ![]() |

13 00 054





