| 
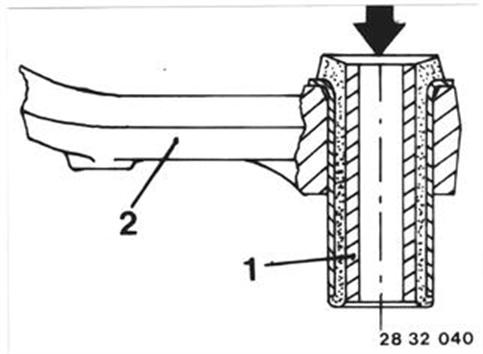
			 Fahrzeuge vor Modellwechsel 1982  FLUIDBOC FÜR LENKFÜHRUNGSHEBEL ERSETZEN Lenkführungshebel aus- und einbauen 32 21 080. Fluidbloc mit Dorn 32 2 031 und Hülse 32 2 032 (großer Innendurchmesser zum Lenkführungshebel) auspressen.  32 21 080 |  | 
| 
			 Neuen Fluidbloc mit Druckstück 33 1 305 und Hülse 32 2 032 (kleiner Innendurchmesser zum Lenkführungshebel) einpressen. Einbaurichtung beachten. |  | 
| 
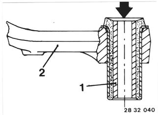
			 Fahrzeuge nach Modellwechsel 1982  FLUIDBLOC FÜR LENK-FÜHRUNGSHEBEL ERSETZEN Lenkführungshebel aus- und einbauen 32 21 080. Fluidbloc mit Dorn 32 1 050 und Hülse 32 2 032 auspressen.  32 21 080 |  | 
| 
			 Einpreßrichtung beachten. 1 = Fluidbloc 2 = Lenkführungshebel |  | 
| 
			 Neuen Fluidbloc mit Druckstück 33 1 305  und Hülse 32 2 032 bis auf Anschlag einpressen. |  | 







