KUPPLUNGSGEBERZYLINDER AUS- UND EINBAUEN Verkleidung für Instrumententafel unten links ausbauen. Kolbenstange (1) vom Kupplungsfußhebel abbauen. Einbauhinweis: Vor Anbau der Kolbenstange (1) Übertotpunktfeder (2) in die Führungsnase (3) am Fußhebelwerk einrasten. | ![]() |
Achtung! Einbauhinweis: Auf Vorhandensein der Buchsen (4) achten. Buchsen und Bolzen mit Molykote Longterm 2 bestreichen. | ![]() |
Bremsflüssigkeit im Ausgleichbehälter absaugen. | ![]() |
Nachfülleitung herausziehen. Leitung (4) zum Nehmerzylinder abbauen. Geberzylinder von Motortrennwand lösen und nach vorne herausnehmen. Einbauhinweis: Kupplungshydraulik entlüften 21 00 006. 21 00 006
| ![]() |
Fahrzeuge nach Modellwechsel 1982 Leitung (1) zum Nehmerzylinder lösen. | ![]() |
Verschraubung am Ausgleichbehälter abschrauben. Schwimmerbehälter (2) herausnehmen. Bremsflüssigkeit im Ausgleichbehälter bis zum Anschluß der Nachfülleitung absaugen. | ![]() |
Verkleidung für Instrumententafel unten links abbauen 51 45 180. Kolbenstange (3) vom Kupplungspedal abbauen. Einbauhinweis: Kupplungspedal mit der Exzenterschraube (7) einstellen (siehe Gruppe 35). 51 45 180 Siehe technische Daten
| ![]() |
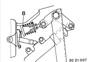
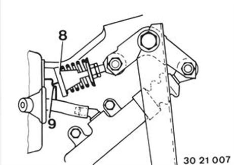
Achtung! Einbauhinweis: Vor Anbau der Kolbenstange (3) Übertotpunktfeder (8) in die Führungsnase (9) am Fußhebelwerk einrasten. | ![]() |
Nachfülleitung (4) herausziehen. Schrauben (5 und 6) lösen. Geberzylinder herausnehmen. Einbauhinweis: Kupplungshydraulik entlüften 21 00 006. 21 00 006
| ![]() |



21 00 006




