Vehicles after change point in 1982
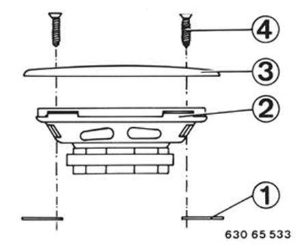
RREMOVING AND INSTALLING
OR REPLACING FRONT
SPEAKER
Left:
Remove soeaker with frame.
Installed Order:
1 End plate of door beam
2 Speaker
3 Speaker frame
4 Self-tapping screw (four)

63065533 - click to zoom
 
Right:
Remove glove box - see 51 16 360.
Remove speaker as described for left side.


Siehe auch 51 16 360
63065534 - click to zoom