Vehicles before change point in 1982 REPLACING DRIVE PINION AND RING GEAR - Final Drive Removed - Drain oil. Mount final drive on Special Tool 33 1 060. Number of pinion/ring gear teeth is stamped in case, e.g. 11 : 40. Installation: Add oil¹). ¹) See Specifications
| ![]() |
Old Version: Unscrew bolts. Detach drive flanges with Special Tool 33 1 250. Installation: Tightening torque¹). ¹) See Specifications
| ![]() |
Take off cover. Remove differential case assembly. Installation: On old version insert spacers in differential case prior to installing. Check O-ring, replacing if necessary. Tightening torque¹). ¹) See Specifications
| ![]() |
Remove lockplate. Installation: Lock collar nut with new lockplate in groove of input flange. | ![]() |
Hold input flange with Special Tool 33 1 000 and unscrew collar nut. Installation: Tightening torque¹). Press out drive pinion. Take off shaft seal. Remove taper roller bearing. ¹) See Specifications
| ![]() |
Pull out bearing outer races for drive pinion with Special Tool 33 1 350. 1 Bearing outer race, front 2 Spreader 3 Stopwasher 4 Extractor 5 Pressure bolt | ![]() |
1 Bearing outer race, rear 2 Streader 3 Stopwasher 4 Extractor 5 Pressure bolt | ![]() |
Pull in bearing outer races with Special Tool 33 1 350. Picture shows installation of rear bearing outer race. 1 Bearing outer race 2 Rear pull-in plate 3 Nut 4 Front pull-in plate 5 Pressure bolt | ![]() |
Special machines pair pinions and ring gears for optimal smooth running. The paired number (P) is electrically engraved on pinion and ring gear. Never install a drive pinion and ring gear in one car, when they have different pair numbers (P). | ![]() |
The figure(s) preceded by + or - indicate(s) the amount of deviation from basic adjustment C in hundreths of millimeters and is required to determine thickness of shims x. e + is added to E. e - is subtracted from E. | ![]() |
Pinions and ring gears with Klingelnberg (palloid) or Gleason teeth are installed. Tooth back and tooth height of Klingelnberg teeth remain constant. In addition, the letter K will be stamped on the ring gear and drive pinion. | ![]() |
The tooth back of Gleason tooth will be higher and wider outside than inside. In addition, the letter H or F will be stamped on ring gear and drive pinion. | ![]() |
Pull off taper roller bearing with Special Tool 33 1 300. Take off shim. Note: Shim will be used again to facilitate finding basic adjustment setting faster. | ![]() |
Press on new taper roller bearing (1) and removed shim (A). Coat bearing inner race with tallow to facilitate installation. Important: Install shim A that bevelled inside diameter faces drive pinion. | ![]() |
Install drive pinion without holding sleeve. Press front taper roller bearing on to drive pinion with Special Tool 23 1 300 and 23 2 150. | ![]() |
Install drive flange without shaft seal. | ![]() |
Adjust frictional torque of drive pinion bearing to 210 ... 230 Ncm (18 ... 20 in.lbs.) by tightening collar nut. Check frictional torque with Special Tool 00 2 000. | ![]() |
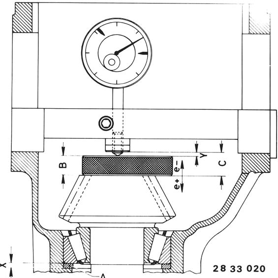
Determine distance C of gauge. Place gauge on face of drive pinion. | ![]() |
Set micrometer dial gauge to 0 (zero) with 4 mm (0.160´´) preload. Important: Micrometer dial gauge could also be set with a different preload. Determine D. D is half of the diameter stamped on the gauge. For example, 40.0 mm (1.574´´) : 2 = 20.0 mm (0.787´´). | ![]() |
Install Special Tool 33 1 400 in case. Read B from micrometer dial gauge and determine Y. Determine thickness of shim X, taking deviation e from basic adjustment E into consideration E Klingelnberg........ 59.00 mm (2.323´´) E Gleason ............. 61,85 mm (2.435´´) | ![]() |
Example I 1. E ........................59.00 mm (2.323´´) e+ ............................0.15 mm (0.006´´) ______________________________ E target ..................59.15 mm (2.329´´) 2. C.........................38.00 mm (1.496´´) D : 2........................20.00 mm (0.787´´) ______________________________ ................................58.00 mm (2.283´´) 3. Gauge preload ......4.00 mm (0.158´´) Actual value B - ........3.12 mm (0.123´´) _______________________________ Distance Y.................0.88 mm (0.035´´) 4. C + D...................58.00 mm (2.283´´) Y +.............................0.88 mm (0.035´´) _______________________________ E actual...................58.88 mm (2.318´´) 5. E target................59.15 mm (2.329´´) E actual...................58.88 mm (2.318´´) _______________________________ a................................0.27 mm (0.011´´) 6. Test shim A............4.05 mm (0.159´´) a - .............................0.27 mm (0.011´´) _______________________________ Shim X.......................3.78 mm (0.148´´) If E target is larger than E actual, a must be subracted (-) from test shim A. Example II 1. E.........................61.85 mm (2.435´´) e - ............................0.12 mm (0.005´´) ______________________________ E target ................. 61.73 mm (2.430´´) 2. C........................ 38.00 mm (1.496´´) D : 2 + ................... 20.00 mm (0.787´´) ______________________________ ............................... 58.00 mm (2.283´´) 3. Gauge preload.......7.00 mm (0.275´´) Actual value B - ........3.12 mm (0.123´´) ______________________________ Distance Y.................3.88 mm (0.152´´) 4. C + D....................58.00 mm (2.283´´) Y +..............................3.88 mm (0.152´´) _______________________________ E actual ....................61.88 mm (2.435´´) 5. E target..................61.73 mm (2.430´´) E actual.....................61.88 mm (2.435´´) _______________________________ a..................................0.15 mm (0.005´´) 6. Test shim A..............4.05 mm (0.159´´) a + ..............................0.15 mm (0.005´´] _______________________________ Shim X ........................4.20 mm (0.164´´) If E target is smaller than E actual, a must be added (+) to test shim A. Permissible tolerance for thickness of shim X: Klingelnberg ± 0.03 mm (0.0012´´) Gleason + 0.04 mm (0.0016´´) | ![]() |
Remove drive pinion. Pull off taper roller bearing with Special Tool 33 1 300. | ![]() |
Install drive pinion with shim X of determined thickness and a new holding sleeve (1). Important: Bevelled inside diameter of shim X faces drive pinion. | ![]() |
Lubricate sealing lip of shaft seal with final drive gear lube and knock in flush with Special Tools 31 2 040 and 00 5 500. | ![]() |
Install drive flange. Important: Collar nut must be tightened to at least 150 Nm (108 ft.lbs.). Adjust frictional torque of pinion bearing to 210 ... 230 Ncm (18 ... 20 in.lbs) plus 20 Ncm (2 in.lbs.) for new shaft seal. Check firctional torque with Special Tool 00 2 000. Lock collar nut with a new lockplate. If frictional torque is exceeded, replace holding sleeve and repeat measurement. | ![]() |
Take off ring gear (cold). Installation: Clean threads thoroughly (tap). Heat ring gear to max. 100°C (212°F), checking temperature with a thermocolor pencil. Install new bolts with Loctite No. 270 and tighten in order of 1 through 10. Tightening torque¹). ¹) See Specifications
| ![]() |
Pull off taper roller bearing with Special Tools 33 1 300 and 33 1 303. Installation: Press on taper roller bearing cold. | ![]() |
Pull out bearing outer race from case with Special Tool 33 1 350. Important: Mark shim. | ![]() |
Pull out bearing outer race from cover with Special Tool 33 1 350. Important: Mark shim (1) and be careful not to mix it up with shim from case. | ![]() |
Install old shims, if new pinion/ring gear have same type of teeth. This will help in finding frictional torque, backlash and tooth pattern faster. If pinion/ring gear with different teeth are used, install shims 1.40 to 1.70 mm (0.055 to 0.067´´) thick for Gleason or 2.20 to 2.40 mm (0.087 to 0.094´´) thick for Klingelnberg for basic adjustment. | ![]() |
Install bearing outer race (1) and one shim (2) in cover with Special Tool 33 1 350. | ![]() |
![]() |
|
Check total frictional torque with Special Tool 00 2 000. Total frictional torque must be 50 to 100 Ncm (4 to 9 in.lbs.) more than frictional torque of pinion bearing. Total Frictional Torque Value Higher: Install thinner shim. Total Frictional Torque Value Lower: Install thicker shim. | ![]() |
Install shim of determined thickness. Install cover and recheck frictional torque. Remove vent housing (1). Installation: Torque values¹). ¹) See Specifications
| ![]() |
![]() |
|
Coat ring gear with printer´s ink to check tooth contact pattern, turning ring gear in both directions several times and stopping with a piece of hard wood. | ![]() |
Backlash and tooth contact pattern can be altered with shims 1 and 2. Keep changing shims 1 and 2 until backlash and tooth contact pattern are correct. A change in shim thickness of 0.10 mm (0.004´´) will change backlash by approx. 0.05 mm (0.002´´). Important: Never change total thickness of shims 1 and 2. | ![]() |
GENERAL INFORMATION ON TOOTH CONTACT PATTERNS Gleason Teeth A Correct tooth contact pattern without load. A 1 Loads will shift tooth contact pattern outward slightly. Moving the ring gear will mainly change the backlash, but will also displace the contact pattern in longitudinal direction of the teeth. Moving the drive pinion will displace the contact pattern in favor of tooth height, but the backlash will be altered just very slightly. Here are the four basic incorrect contact patterns, which usually appear in comination. Knowing these patterns will facilitate making adjustments. 1. High, narrow contact pattern (tip contact) on ring gear. Move drive pinion toward ring gear shaft and perhaps correct backlash by backing ring gear off of drive pinion. 2. Deep, narrow contact pattern (root contact) on ring gear. Move drive pinion away from ring gear shaft and perhaps correct backlash by moving in ring gear. 3. Short contact pattern on small tooth end (toe contact) of ring gear. Move ring gear away from drive pinion. Maybe move pinion closer to ring gear shaft. 4. Short contact pattern on large tooth end (heel contact) of ring gear. Move ring gear toward drive pinion. Perhaps back drive pinion away from ring gear shaft. | ![]() |
Klingelnberg (Palloid) Teeth Tooth contact pattern on forward and reverse flanks of drive pinion should be at approximately center of tooth length and tooth height. B Tooth contact pattern off load. C Tooth contact pattern under load. D By installing a thicker shim "X" behind drive pinion the contact pattern of forward flank will shift toward the large drive pinion diameter, while on the reverse flank it will move closer to the small drive pinion diameter. For other possible changes refer to drawing E. | ![]() |
Adjustment of contact pattern | ![]() |
Vehicles after change point in 1982 REPLACING DRIVE PINION WITH RING GEAR - Final Drive Removed - See 33 10 010 in microfilmed repair manual for cars beginning with 1985 models for information on removing and installing final drive. Mount final drive on Special Tool 33 1 010. Drain oil. Unscrew case cover. Installation: Replace gasket. Tightening torque*. Pour in oil - oil volume*. See Group 33 in Operating Material Binder for approved oil grade. 33 10 010 * See Specifications
| ![]() |
Pry off both drive flanges with a tire iron. | ![]() |
Installation: Place round wire snap ring (1) in groove of differential case prior to installation of the drive flange in such a manner, that both ends of snap ring are recessed in groove. This prevents lateral bending of the ring. Press in drive flange by hand and turn slightly until snap ring is heard to engage. Replace stretched snap rings. | ![]() |
Punch mark both bearing caps. Remove both bearing caps. Important! Don´t mix up bearing caps and shims. Fasten shims on bearing caps with pieces of wire if necessary. Installation: Tightening torque*. * See Specifications
| ![]() |
Differential case bearings and backlash are adjusted with shims (1). Check O-ring (2), replacing if necessary. | ![]() |
Remove complete differential case. Important! Don´t bend the pulse spider. | ![]() |
Lift out lockplate. Hold with Special Tool 23 0 020 and unscrew nut (1). | ![]() |
Pull off input flange with Special Tool 33 1 150. The specified friction torque* is given for new drive pinion bearings and the frictiion torque of old bearings does not have to be measured. * See Specifications
| ![]() |
Press out drive pinion. | ![]() |
Pull out front bearing outer race with Special Tool 33 1 350. 1 Spreader 2 Front bearing outer race 3 Puller bell housing 4 Pressure bolt | ![]() |
Pull out rear bearing outer race with Special Tool 33 1 360. Puller consists of: Puller head............... 33 1 361 Threaded spindle......33 1 362 Bearing bridge.......... 33 1 356 Pressure nut............. 33 1 363 Important! Shim (X) is located underneath the rear bearing outer race. It will be needed again for pinion/ring gear adjustments. | ![]() |
Important! Replace both drive pinion bearings, using only one make. | |
Install old shim (X) in front of the rear bearing outer race. Pull in bearing outer races with Special Tool 33 1 360. Puller consists of: Puller disc for front outer race.... 33 1 373 Puller disc for rear outer race..... 33 1 365 Threaded spindle....................... 33 1 362 Pressure nut............................... 33 1 363 Nut............................................. 33 1 354 | ![]() |
Press new tapered roller bearing inner race on to new drive pinion with Special Tool 33 1 020. | ![]() |
Important! Drive pinions and ring gears are paired for optimal smooth running in special machines. The pairing code (P) is inscribed electrically on the drive pinion and ring gear. Never install a ring gear and drive pinion with different pairing codes (P) together. H = Gleason hypoid teeth (helical shape). | ![]() |
The number inscribed together with "+" or "-" is the deviation from basic distance C in hundreds of millimeter and is required for adjustment of the tooth contact pattern with shims. + e is added to C. - e is subtracted from C. | ![]() |
To determine the thickness of shim (X), install drive pinion with new tapered roller bearings, but without bush. | ![]() |
Install drive pinion in rear bearing outer race. Press (don´t pull) front tapered roller bearing on to drive pinion with Special Tool 23 1 300 in conjunciton with a spacing sleeve. | ![]() |
Mount input flange. Tighten collar nut in steps and measure friction torque after each step with Special Tool 00 2 000, adjusting it to 250 Ncm (22 in.lbs.) with the collar nut. | ![]() |
- Drive Pinion Block Distance - Mount dial gage in Special Tool 33 1 481. Place Special Tool 33 1 481 with dial gage on Special Tool 33 1 482 and set dial gage to 0 (zero) with pre-load. | ![]() |
Place Special Tool 33 1 482 on drive pinion. Insert Special Tool 33 1 481 in case. Determine value Y. Basic distance C = 11.50 mm (0.453´´) Gage disc B = 9.50 mm (0.374´´) | ![]() |
Example I C ..........................................11.50 mm (0.453´´) e +..........................................0.10 mm (0.004´´) _____________________________________ C nominal .............................11.60 mm (0.457´´) Y measured on dial gage........1.90 mm (0.075´´) + gage thickness B.................9.50 mm (0.374´´) _____________________________________ C actual ...............................11.40 mm (0.449´´) C nominal .............................11.60 mm (0.457´´) C actual..............................- 11.40 mm (0.449´´) _____________________________________ a.............................................0.20 mm (0.008´´) Test shim A.............................4.10 mm (0.161´´) - a...........................................0.20 mm (0.008´´) _____________________________________ Shim thickness X....................3.90 mm (0.153´´) If C nominal is larger than C actual, "a" is subtracted (-) from shim thickness X. Example II C .............................................11.50 mm (0.453´´) e - .............................................0.10 mm (0.004´´) _______________________________________ C nominal ................................11.40 mm (0.449´´) Y measured on dial gage...........2.20 mm (0.087´´) + gage thickness B....................9.50 mm (0.374´´) _______________________________________ C actual ...................................11.70 mm (0.461´´) C actual ...................................11.70 mm (0.461´´) C nominal ...............................- 11.50 mm (0.453´´) _______________________________________ a ................................................0.20 mm (0.008´´) Test shim A ................................3.90 mm (0.153´´) + a .............................................0.20 mm (0.008´´) _______________________________________ Shim thickness X........................4.10 mm (0.161´´) If C nominal is smaller than C actual, "a" is added (+) to shim thickness X. The permissible tolerances for distance (X) result from the tolerances for shim thickness in steps of 0.01 to 0.03 mm (0.0004 to 0.0012´´). | ![]() |
Remove drive pinion and rear bearing outer race. Press in shim (X) of dertermined thickness and bearing outer race. | ![]() |
Important! Do not install the drive pinion at this point, since it is first necessary to measure and adjust the friction torque of the new differential case bearing. | |
Press pulse spider off of differential case. Caution! Be careful not to bend the pulse spider. | ![]() |
Installation: Press on pulse spider with Special Tool 33 1 304. | ![]() |
Remove ring gear (cold). Installation: Clean threads thoroughly (with a tapper). Heat ring gear to max. 100°C (212°F), checking temperature with a thermochrome pencil. Mount ring gear with two locally made staybolts as guides. | ![]() |
Install new bolts with Loctite No. 270 and tighten in order of (1 ... 10). Tightening torque*. Tighten bolts to torque angle*. * See Specifications
| ![]() |
Pull off tapered roller bearing on differential case with Special Tool 33 1 300. | ![]() |
Installation: Press on new tapered roller bearing inner races cold with Special Tool 33 1 003. | ![]() |
Lift shaft seals out of both bearing caps. | ![]() |
Press out bearing outer race with Special Tools 33 1 350 and 33 1 351. Important! Special Tool 33 1 351 must engage in the bearing outer race. | ![]() |
Installation: Press in new bearing outer races with Special Tool 33 1 365. | ![]() |
The following 12 steps can only be omitted, if the differential case bearings were not replaced. Install differential case with new ring gear and new bearings. Lubricate bearings thoroughly with approved final drive gear lube** and let them drip dry. ** See Gr. 33 in Operating Material Binder
| |
Install side bearing caps marked with belonging shims (1), but at first without O-rings (2). Tighten bearing cover bolts on the side opposite the ring gear uniformly. Tightening torque*. * See Specifications
| ![]() |
The compensation bore (1), which is recongnized on the outside by tab (2), always faces up in installed position of the transmission. | ![]() |
Determining Friction Torque of New Differential Case Bearings: Axial preload force (4000 N = 882 lbs.) of differential case bearings can be determined with help of the friction torque*. Tighten bolts of second bearing cap uniformly only enough, that the differential can still be turned easily. * See Specifications
| ![]() |
Install an output flange on the end opposite the ring gear and determine the friction torque with a locally manufactured holder with welded nut and Special Tool 00 2 000. Turn friction tester at approx. 50 rpm. | ![]() |
The friction torque* specified in the differential case bearing table* should be reached, but not exceeded. If new shaft seals had already been installed, add 20 Ncm (2 in.lbs.) for each seal in which an output shaft runs while measuring. * See Specifications
| ![]() |
If the given friction torque is not reached, even though both bearing caps are tightened to the correct tightening torque*, install a thinner shim opposite the ring gear and repeat the measuring procedures. * See Specifications
| ![]() |
If the friction torque is reached, even though the second bearing cap has not yet been tightened to the correct tightening torque*, a thicker shim must be used on the ring gear end and the measuring procedures repeated. * See Specifications
| ![]() |
To make finding the shim thickness easier, the distance between the shim and case can be measured with a feeler gage blade and added to the thickness of the used shim. | ![]() |
Example: Second bearing cap not tightened fully (bolts screwed in uniformly). Specified friction torque* (e.g. 190 Ncm = 16.5 in.lbs.) is reached and shaft seals are not yet installed. Gap measured with blade of feeler gage.................... 0.20 mm (0.008´´) Used shim thickness......... 1.40 mm (0.055´´) ____________________________________ Install shim of thickness..... 1.60 mm (0.063´´) and measure again. | ![]() |
Remove differential for installation of the drive pinion. (If differential case bearings were not replaced, procedures can be continued from this point). Important! Arrange side covers and shims of determined thickness; don´t mix them up. | ![]() |
Install drive pinion with a new clamping sleeve (2). | ![]() |
Dip shaft seal in final drive gear lube and drive it in flush with Special Tools 33 1 270 and 00 5 500. | ![]() |
Press (don´t pull) input flange on to the input shaft with Special Tools 23 1 300. Axial preload force (5000 N = 1102 in.lbs.) of drive pinion bearings can be determined with help of the friction torque. | ![]() |
Tighten input flange with the collar nut in steps, measuring the frictiion torque after each step (see below). | ![]() |
Measure friction torque* with Special Tool 00 2 000 and a suitable wrench socket. Important! The relation between friction torque and preload force differs depending on the make of bearings. Take specified friction torque from the pinion bearing table* and add 20 Ncm (2 in.lbs.) for the new shaft seal. * See Specifications
| ![]() |
Insall differential. Install side covers as marked with corresponding washers (1) and new O-rings (2). Tighten bolts uniformly. Tightening torque*. * See Specifications
| ![]() |
- Backlash/Tooth Contact Pattern Adjustment - Mount Special Tool 00 2 500 and measure backlash* with dial gage. Important! The tooth contact pattern is always most important for a perfectly adjusted pinion/ring gear set. * See Specifications
| ![]() |
To check the tooth contact pattern, coat the ring gear teeth with printer´s ink, turn in both directions several times and stop ring gear suddenly with a piece of hard wood. | ![]() |
Correct backlash* and tooth contact pattern by changing the thickness of both shims (1). If backlash is excessive, use a thinner shim on the ring gear end. If backlash is too small, use a thicker shim on the ring gear end. An axial displacement of the ring gear by 0.01 mm (0.0004´´) will cause a change in backlash of 0.0076 mm (0.0003´´). Important! The total thickness of both shims must not be changed. If a thinner or thicker shims is required to correct the tooth contact pattern, the total thickness must be corrected with the second shim, since otherwise the friction torque of bearings would be changed again. * See Specifications
| ![]() |
Refer to following pages for general information on tooth contact pattern adjustments. | |
Installation: Dip new shaft seals in final drive gear lube. Drive in shaft seals against the stop with Special Tools 33 1 230 and 00 5 500. Replace a drive flange with seriously scored bearing surfaces. | ![]() |
Drive in new lockplate with Special Tools 33 4 050 and 00 5 500. | ![]() |
GENERAL INFORMATION ON TOOTH PATTERN ADJUSTMENTS Gleason Teeth A Correct tooth pattern without load. A1 Loads will shift tooth contact pattern outward slightly. Moving the ring gear will mainly change the backlash, but will also displace the contact pattern in longitudinal direction of the teeth. Moving the drive pinion will displace the contact pattern in favor of tooth height, but the backlash will be altered just very slightly. Here are the four basically incorrect contact patterns, which usually occur in combination. Knowing these pattern will facilitate making adjustments. 1. High, narrow contact pattern (tip contact) on ring gear. Move drive pinion toward ring gear shaft and perhaps correct backlash by backing ring gear off of drive pinion. 2. Deep, narrow contact pattern (root contact) on ring gear. Move drive pinion away from ring gear shaft and perhaps correct backlash by moving in ring gear. 3. Short contact pattern on small tooth end (toe contact) of ring gear. Move ring gear away from drive pinion. Maybe move pinion closer to ring gear shaft. 4. Short contact pattern on large tooth end (heel contact) of ring gear. Move ring gear toward drive pinion. Perhaps back drive pinion away from ring gear shaft. | ![]() |
Adjustment of contact pattern | ![]() |
¹) See Specifications




















































































