Vehicles after change point in 1982 REPLACING CONSTANT VELOCITY JOINT FOR PROPELLER SHAFT Remove propeller shaft assembly - see 26 11 000. Remove hose clamp. 26 11 000
| ![]() |
Remove circlip. Installation: Replace circlip. | ![]() |
Pull off constant velocity joint complete with dust cover. | ![]() |
Press knurled head bolts and washers out of constant velocity joint. | ![]() |
Press off dust cover. | ![]() |
Pack new constant velocity joint with 60 grams of grease*. Note: Do not cant inner race with cage, since balls would fall out. * Source: HWB
| ![]() |
Place gasket in shoulder provided for this purpose. Press on the dust cover. Installation: Check that bores are located correctly. | ![]() |
Press in knurled head bolts with washers. | ![]() |
Clean splines to remove grease and then coat with a bolt cement*. Important! Keep bolt cement out of ball paths. * Source: HWB
| ![]() |
Drive constant velocity joint on propeller shaft with Special Tool 23 1 040. | ![]() |
Insert circlip. Note: Check for correct and tight fit. | ![]() |
Install hose clamp on dust cover. | ![]() |
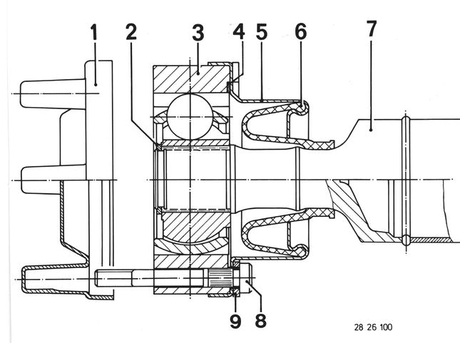
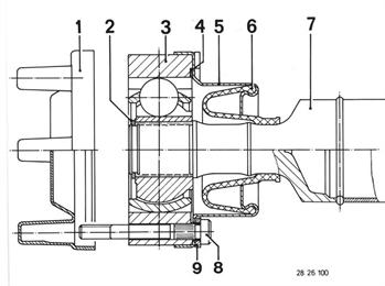
Constant Velocity Joint Assembly 1 Transport cap 2 Circlip 3 Constant velocity joint 4 Gasket 5 End cover 6 Dust cover 7 Propeller shaft 8 Bolt 9 Washer | ![]() |
26 11 000










