Vehicles after change point in 1982
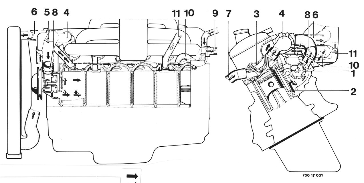
COOLANT CIRCUIT
Circuit with closed thermostat
Circuit with open thermostat.
1 Water pump
2 Crankcase
3 Cylinder head
4 Thermostat housing
5 Thermostat
6 To radiator - thermostat open
7 Radiator outlet
8 To water pump
9 To heat exchanger (car heater)
10 From heat exchanger
11 From expansion tank

73017031 - click to zoom