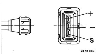
Vehicles after change point in 1982 Measure resistance* of sensor coil (M 06) on + and - of plug. * See Specifications
| ![]() |
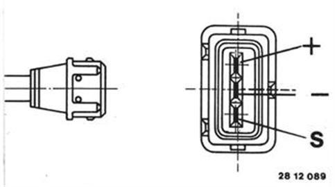
Connect oscilloscope (M 22/23) on + and - connections of speed sensor. Turn engine with the starter. Signal shown in the figure should be displayed. Only the shape is important when evaluating the signal - not the amplitude height. | ![]() |
Check reference mark sensor in same manner. If oscillograph deviates, remove sensor and check for dirt (grease, burrs, dust), cleaning if necessary. Check reference mark, replacing pin for flywheel if necessary. | ![]() |
* See Specifications

