OVERHAULING WATER PUMP
Pull off hub with Special Tool 00 8 500 from Kukko.
Installation: Double stepped flange side faces
water pump.

63011246 - click to zoom
 
Press impeller off of shaft and water pump
bearing out of body.

63011247 - click to zoom
 
Drive axial sliding seal (1) out of body.
Lift off cover (2).

63011248 - click to zoom
 
Installtion: Press on impeller with Locitite No. 270.
Watch distance B = 0.9 ± 0.2 mm (0.036 ± 0.008´´).

63011249 - click to zoom
 
Press in water pump bearing until it fits tight.
Press on hub.
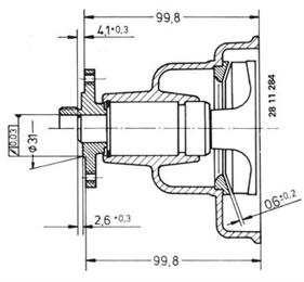
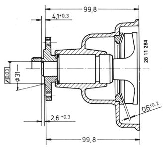
Important: Distance A = 99.8 mm (3.929´´).

63011250 - click to zoom
 
Vehicles after change point in 1982
OVERHAULING WATER PUMP
Pull off hub with Special Tool 00 8 500.
Lift out circlip (1).

63011246 - click to zoom
 
Press out water pump bearing.
Installation:
Press in water pump bearing against stop.
Press on impeller.

63011247 - click to zoom
 
Drive out seal (1).
Installation:
Press in seal (1) with Special Tool 00 5 500.

63011248 - click to zoom
 
Check dimensions after assembling!

2811284 - click to zoom