| 
			 ANHÄNGEKUPPLUNG KPL. MIT ELEKTRIK EINBAUEN Ab Modell 9./78: Bei den Anhängekupplungen können sich je nach Hersteller geringfügige Unterschiede ergeben. Bitte die Anbauanweisung des Herstellers beachten. Alle Arbeiten sind am Linkslenker-Modell dargestellt. Beim Rechtslenker-Modell müssen verschiedene Arbeiten spiegelbildlich durchgeführt werden. |  | |||||||||||||||||||||||||||
| 
			 Kofferraummatte und Reserveradabdeckung abnehmen. Die Kofferraumeinlage (1) in den Gepäckraum einlegen und nach hinten sowie an der Eindrückung im Gepäckraumboden anschlagen. Achtung! Kabel nicht einklemmen. |  | |||||||||||||||||||||||||||
| 
			 Die in der Kofferraumeinlage (1) vorhandenen Löcher ø 11 mm durch den Gepäckraumboden bohren. |  | |||||||||||||||||||||||||||
| 
			 Die in der Kofferraumeinlage (1) vorhandenen Löcher ø 9 mm durch die Rückwand bohren. | ||||||||||||||||||||||||||||
| 
			 Die Gegenlaschen zwischen Stopstange hinten und Heckabschlußblech einbringen und durch Schrauben M 8 x 20 mit der Kofferraumeinlage (1) verschrauben. |  | |||||||||||||||||||||||||||
| 
			 Blechlappen unten aufbiegen. Verkleidung vorsichtig nach oben drücken und abstützen. |  | |||||||||||||||||||||||||||
| 
			 Den Gegenwinkel (2) am vorderen Querträger anschlagen und ausrichten. Maß A = 205 mm links von Fahrzeugmitte. Bohrungen anbringen: Durch Gepäckraumboden ø 11 mm und durch vorderen Querträger ø 9 mm. |  | |||||||||||||||||||||||||||
| 
			 Gegenlasche durch Schlitz im vorderen Querträger einsetzen und mit Gegenwinkel (2) mit Schrauben M 8 x 20 verschrauben. |  | |||||||||||||||||||||||||||
| 
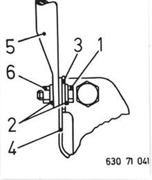
			 Stütze (3) von Anhängevorrichtung abbauen. Die Stütze (3) durch Schrauben M 10 x 25 und Muttern mit der Kofferraumeinlage (1) verschrauben. |  | |||||||||||||||||||||||||||
| 
			 Anhängevorrichtung von unten einführen und die vordere Aufnahme (4) mit dem Gegenwinkel (2) durch Schrauben M 10 x 25 und Muttern verschrauben. |  | |||||||||||||||||||||||||||
| 
			 Anhängevorrichtung mit Stütze (3) und der Zwischenlage (5), rechts von Anhängevorrichtung, durch Schrauben M 12 x 100, Unterlegscheiben und Muttern verschrauben. |  | |||||||||||||||||||||||||||
| 
			 Hintere Bohrungen der vorderen Aufnahme (4) ø 11 mm von unten nach oben durch den Gepäckraumboden bohren. |  | |||||||||||||||||||||||||||
| 
			 Gegenlasche (6) in Gepäckraum einlegen. Mit der vorderen Aufnahme (4) durch Schrauben M 10 x 25 und Muttern verschrauben. Sämtliche Teile ausrichten und die Schraubverbindungen nach Anbauanweisung des Herstellers nach den angegebenen Anzugsdrehmomenten abziehen. Nach § 44 Abs. 3 der StVZO ist das Stützlastschild an gut sichtbarer Stelle anzubringen. |  | |||||||||||||||||||||||||||
| 
			 Elektrischen Teil anschließen: Minusleitung an der Batterie abklemmen. Hinten links Teppichboden abziehen. Schrauben lösen und Hintersitz abnehmen. |  | |||||||||||||||||||||||||||
| 
			 Heckleuchte rechts Gewindeknöpfe abschrauben und Abdeckplatte abnehmen. |  | |||||||||||||||||||||||||||
| 
			 Stecker (1) abziehen. Kabel BLSW (Blinker) aus Zentralstecker herausziehen. (Siehe Schaltplan). |  | |||||||||||||||||||||||||||
| 
			 Kabel vom Einbausatz farbengleich aufstecken. Abgezogenes Kabel mit Zusatzkabelstrang verbinden. Zentralstecker auf Heckleuchte aufstecken. |  | |||||||||||||||||||||||||||
| 
			 Massekabel an Massepunkt befestigen. Zusatzkabel zur linken Heckleuchte verlegen. |  | |||||||||||||||||||||||||||
| 
			 Abdeckplatte von Heckleuchte links abbauen. Zentralstecker abziehen. Kabel BLRT aus Zentralstecker herausziehen. Kabel vom Einbausatz farbengleich aufstecken. Abgezogenes Kabel mit Zusatzkabelstrang verbinden. Zentralstecker auf Heckleuchte aufstecken. (Siehe Schaltplan). |  | |||||||||||||||||||||||||||
| 
			 Zusatzkabel entlang dem vorhandenen Kabelbaum zum Fahrzeuginneren verlegen. |  | |||||||||||||||||||||||||||
| 
			 Zusatzkabelstrang zum Lampentestgerät verlegen, Schaumgummi (1) wieder einsetzen. |  | |||||||||||||||||||||||||||
| 
			 Großen Stecker (1) vom Lampentestgerät abziehen. |  | |||||||||||||||||||||||||||
| 
			 Kabel (1) = grün/blau - Bremslicht Kabel (2) = grau/gelb - Rücklicht links Kabel (3) = grau/weiß - Rücklicht rechts aus Zentralstecker herausziehen und Kabel vom Zusatzkabelstrang farbengleich aufstecken. (Siehe Schaltplan). |  | |||||||||||||||||||||||||||
| 
			 Abgezogene Kabel auf Steckleiste vom Zusatzkabelstrang farbengleich aufstecken. Zentralstecker am Lampentestgerät befestigen. (Siehe Schaltplan). |  | |||||||||||||||||||||||||||
| 
			 Bohrung ø 17 mm für Kabeldurchgang zur Steckdose anbringen. Maß A = 15 mm Maß B = 18 mm |  | |||||||||||||||||||||||||||
| 
			 Kabel durchstecken und Gummitülle einsetzen. Kabel nach Schaltplan an Steckdose anschließen. Steckdose anbauen. Zwischen Halter und Steckdose Dichtung montieren. |  | |||||||||||||||||||||||||||
| 
			 Instrumententräger ausbauen 62 21 000. Klebeband von Aufnahme für Anhängekontrollleuchte abziehen.  62 21 000 |  | |||||||||||||||||||||||||||
| 
			 Glühlampe in Fassung vom Zusatzkabel einsetzen und am Instrumententräger aufstecken. Kabel zum Blinkgeber verlegen. |  | |||||||||||||||||||||||||||
| 
			 Massekabel am Massepunkt (neben Lenksäule) befestigen. |  | |||||||||||||||||||||||||||
| 
			 Vorhandenen Blinkgeber aushängen. Stecker abziehen auf neuen Blinkgeber aufstecken. Freies Kabel vom Zusatzkabelstrang am Blinkgeber C 2 aufstecken (siehe Schaltplan). Blinkgeber in Halterung einhängen. |  | |||||||||||||||||||||||||||
| 
			 Funktionsprüfung: Minusleitung an der Batterie anschließen. Es ist unbedingt darauf zu achten, daß die Anschlüsse des zugehörigen Steckers sich mit den Anschlüssen der Steckdose decken. Beim Ankuppeln eines Anhängers ist die Arbeitsweise der Anhängebeleuchtung und Blinker zu prüfen. Im Anhängerbetrieb und bei eingeschalteten Blinker müssen beide Kontrolleuchten im Instrumententräger aufleuchten. Alle abgebauten Teile wieder einbauen. | ||||||||||||||||||||||||||||
| 
			 Fahrzeuge nach Modellwechsel 1982  ANHÄNGEVORRICHTUNG KOMPLETT MIT ELEKTRIK EINBAUEN Bei den Anhängevorrichtungen können sich je nach Hersteller geringfügige Unterschiede ergeben. Bitte die Anbauanweisung des Herstellers beachten. | ||||||||||||||||||||||||||||
| 
			 Gepäckraumbodenteppich, Trennwandverkleidung  und Gepäckraumverkleidungen links und rechts herausnehmen. Klammern der Heckabschlußblechverkleidung ausheben und Verkleidung abnehmen. |  | |||||||||||||||||||||||||||
| 
			 Muttern links und rechts lösen und Blendenecken  abnehmen. |  | |||||||||||||||||||||||||||
| 
			 Heckblende aus Klammern ziehen. Einbauhinweis: Abgezogene Klammern mit den Spitzen nach oben aufstellen. |  | |||||||||||||||||||||||||||
| 
			 Schrauben lösen. |  | |||||||||||||||||||||||||||
| 
			 Schloßbetätigungsstange aus Klips ziehen. Stecker von Stellmotor abziehen. |  | |||||||||||||||||||||||||||
| 
			 Verstärkung einlegen, mittig ausrichten und  am Heckabschlußblech zur Anlage bringen. 8 Bohrungen (a) Ø 12 mm am Gepäckraumboden und 6 Bohrungen (b) Ø 10 mm am Heckabschlußblech entsprechend den Bohrungen der Verstärkung anzeichnen und bohren (mit 5 mm-Bohrer anbohren). Bohrungen entgraten und mit Zinkstaubfarbe bestreichen. |  | |||||||||||||||||||||||||||
| 
			 Bohrungen für Kabeldurchführung anreißen  und bohren (vorbohren und Schälbohrer). C = Ø 35 mm Bohrung entgraten und mit Zinkstaubfarbe bestreichen. |  | |||||||||||||||||||||||||||
| 
			 Verstärkungswinkel (3) zu den im Querträger  vorhandenen Bohrungen ausrichten und Bohrungen (c) anzeichnen. |  | |||||||||||||||||||||||||||
| 
			 Bohrungen (d) im Abstand A = 204 mm  zu Bohrungen (c) im rechten Winkel zum Querträger anzeichnen. Bohrungen (c und d) bohren (mit 5 mm- Bohrer vorbohren). c = Ø 12 mm d = Ø 11 mm Bohrungen entgraten und mit Zinkstaubfarbe bestreichen. Gepäckraum mit Staubsauger von Bohrspänen reinigen. |  | |||||||||||||||||||||||||||
| 
			 Gewindeplatte (4) einlegen und Verstärkungswinkel  (3) handfest anziehen. 3 Stück Sechskantschrauben M 8 x 20 3 Stück Scheiben |  | |||||||||||||||||||||||||||
| 
			 Verstärkung (6) einlegen und Sechskantschrauben  von oben einsetzen. - Ebenso an der hinteren Verstärkung (Bohrungen a). 12 Stück Sechskantschrauben M 10 x 25 / 8.8 |  | |||||||||||||||||||||||||||
| 
			 Muttern lösen. |  | |||||||||||||||||||||||||||
| 
			 Unterbodenschutz an den Karosserieauflagestellen  der Anhängevorrichtung entfernen. Blanke Stellen mit Zinkstaubfarbe bestreichen. Anhängevorrichtung anheften. 12 Stück selbstsichernde Muttern M10 12 Stück Scheiben 10,5 |  | |||||||||||||||||||||||||||
| 
			 Verstärkung mit Heckabschlußblech handfest  verschrauben. 4 Stück Sechskantschrauben M 8 x 20 4 Stück Scheiben 8,5 2 Gewindeplatten (7) |  | |||||||||||||||||||||||||||
| 
			 Winkel (8) links und rechts mit Heckabschlußblech  und Verstärkung handfest verschrauben. 2 Stück Sechskantschrauben M 8 x 20 2 Stück Scheiben 8,5 x 24 x 2 |  | |||||||||||||||||||||||||||
| 
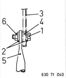
			 Alle Sechskantschrauben festziehen. Anziehdrehmoment: M 10 43...48Nm M 8 22...24 Nm Nachschalldämpfer befestigen. Stütze (5) links und rechts an Verstärkung und den Stützen der Heckklappenscharniere verschrauben. Achtung! Festigkeitsklasse beachten. 4 Stück Sechskantmuttern M 10 / 10 8 Stück Scheiben. Anziehdrehmoment 60...67 Nm. |  | |||||||||||||||||||||||||||
| 
			 Verschraubung A: Einbaulage der Stütze (5) beachten. 1 = Sechskantschraube 2 = Scheibe 3 = Verstärkung 4 = Winkel 5 = Stütze 6 = selbstsichernde Mutter |  | |||||||||||||||||||||||||||
| 
			 Verschraubung B: 1 = Sechskantschraube 2 = Scheibe 3 = Heckklappen-Stütze 4 = Distanzrohr 5 = Stütze 6 = selbstsichernde Mutter |  | |||||||||||||||||||||||||||
| 
			 Elektrische Anbauteile Batterie Massekabel abklemmen. Zusatzkabelbaum durch Bohrung führen und Gummitülle (10) einsetzen. |  | |||||||||||||||||||||||||||
| 
			 Mehrfachstecker (1) vom Steuergerät abziehen  und mit Steckhülse (2) des Zusatzkabelbaumes verbinden. Mehrfachstecker (3) des Zusatzkabelbaumes auf Steuergerät aufstecken. Kabel zu den Heckleuchten verlegen - Kabel mit weißem Kennzeichnungsband zur linken Heckleuchte. |  | |||||||||||||||||||||||||||
| 
			 Heckleuchtenabdeckung links und rechts  abschrauben und Zentralstecker abziehen. Mit Schraubendreher Arretierlasche im Zentralstecker überdrücken, Kabel (1) herausziehen und mit Zusatzkabel (2) farbengleich verbinden. Zusatzkabel in Zentralstecker stecken. Linke Heckleuchte: 
 Rechte Heckleuchte: 
 |  | |||||||||||||||||||||||||||
| 
			 Zentralstecker aufstecken. Dichtgummi (1) auf Steckdose ziehen. Steckdose an Halter anschrauben. Ggf. Gewinde nachschneiden. Steckerbelegung: 
 |  | |||||||||||||||||||||||||||
| BMW-Emblem ausheben. |  | |||||||||||||||||||||||||||
| 
			 Mutter (1) lösen und mit Scheibe (2) abnehmen. Stellung des Lenkrades zur Lenkspindel zeichnen. Einbauhinweis: Selbstsichernde Mutter erneuern Anziehdrehmoment 70...85 Nm Achtung! Blinkerrückstellnocken nicht beschädigen. |  | |||||||||||||||||||||||||||
| 
			 Schrauben lösen. |  | |||||||||||||||||||||||||||
| 
			 Unterdruckleitung (1) und Stecker (2) von  Temperaturfühler-Innenraum abziehen. |  | |||||||||||||||||||||||||||
| 
			 Blende (1) mit einem kleinen Schraubendreher  ausheben. |  | |||||||||||||||||||||||||||
| 
			 Beide Lampenfassungen aus Trägerplatte  ziehen. |  | |||||||||||||||||||||||||||
| 
			 Schrauben lösen und Leuchtweitenregler  abnehmen. Verkleidung abnehmen. |  | |||||||||||||||||||||||||||
| 
			 Lenksäulenverkleidung abbauen. |  | |||||||||||||||||||||||||||
| 
			 Lampe in den Sockel des Zusatzkabels einsetzen. Sockel in die Fassung für Blinkerzusatzkontrolle am Instrumententräger einstecken. (Zur besseren Anschaulichkeit wurde der Instrumententräger ausgebaut). Kabel zur Lenksäule verlegen. |  | |||||||||||||||||||||||||||
| 
			 Massekabel (1) (braun) anschrauben. Blinkerrelais wechseln und Zusatzkabel (2) (schwarz/gelb)) aufstecken. |  | |||||||||||||||||||||||||||
| 
			 Funktionsprüfung: Minsuleitung an der Batterie anschließen. Es ist unbedingt darauf zu achten, daß die Anschlüsse des zugehörigen Steckers sich mit den Anschlüssen der Steckdose decken. Beim Ankuppeln eines Anhängers ist die Arbeitsweise der Anhängerbeleuchtung und Blinder zu prüfen. Zusatzkontrollampe blinkt nur bei Hängerbetrieb. Alle ausgebauten Teile wieder anbauen. Verkleidung des Heckabschlußbleches an den vorgeprägten Stellen beschneiden. Gepräckraumbodenteppich an den Ecken passend zuschneiden. Stützlastschild anbringen. | ||||||||||||||||||||||||||||
| 
			 ERLÄUTERUNG DER KENNZEICHNUNG DES STROMLAUFPLANES 1 = Querschnitt mm² 2 = Grundfarbe 3 = Kennwendel 4 = Kammer Nr. 5 = Klemmenbezeichung 6 = Schraubanschluß (Kabelschuh) 7 = Rundsteckanschluß 8 = Rundsteckhülse 9 = Flachsteckanschluß 10 = Flachsteckhülse 11 = Lötstelle oder Verbinder 12 = Kammer Nr. 13 = Bezeichnung der Steckverbindung 14 = Leitungen ohne Querschnittsangabe immer 0,75 mm² 15 = Masse E 1 Nebleschlußilcht li H 1 Blinklicht hinten li H 2 Blinklicht hinten re H 3 Kontroll-Leuchte Instrument K 1 Lampenkontrollgerät K 2 Warnblinkgeber X 1 Anschl. Lampenkontrollgerät 8-pol. X 2 Anschl. Lampenkontrollgerät 6-pol. X 3 Steckv. Kabelbaum Tst. hi 8-pol. X 4 Anschl. Anhängesteckdose7-pol. X 5 Steckv. Heckleuchte li NSL X 6 Steckv. Heckleuchte li BL X 7 Steckv. Heckleuchte BR X 8 Steckv. Heckleuchte li X 9 Steckv. Heckleuchte re X 10 Steck. Heckleuchte li 31 z. B. 110 Strompfad-Weiterführung (s. Fahrzeugstromlaufplan) Kennzeichnung: BL = blau BR = braun GE = gelb GN = grün GR = grau RT = rot SW = schwarz VI = violett WS = weiß TR = transparent |  | 







