| 
			 Fahrzeuge vor Modellwechsel 1982  TANDEM-HAUPTBREMSZYLINDER ÜBERHOLEN Achtung! Reparatursatz verwenden. Tandem-Hauptbremszylinder aus- und einbauen 34 31 000. Kolben (1) leicht unter Druck setzen. Anschlagschraube (7) lösen. Seegerring (2) ausheben und Kolben (1) herausziehen. Anschlagscheibe (3), Sekundärmanschetten (5), Zwischenring (4) und Lagerring (6) abstreifen. Einbauhinweis: Kolben (1) bei Einbau der Anschlagschraube (7) leicht unter Druck setzen. Kupferdichtring unter der Anschlagschraube ersetzen. Kolbenschaft mit Siliconfett bestreichen.  34 31 000 |  | 
| 
			 Einbauhinweis: Sekundärmanschetten (5) in einer Richtung montieren. Raum zwischen Sekundärmanschetten (5) und Zwischenring (4) mit Siliconfett bestreichen. |  | 
| 
			 Zum Ersetzen der Primärmanschette (8) Verbindungsschraube (9) lösen. Federteller (10), Feder (11), Stützring (12), Primärmanschette (8) und Füllscheibe (13) abziehen. Einbauhinweis: Darauf achten, daß der Stützring (12) einwandfrei an der Primärmanschette (8) anliegt. |  | 
| 
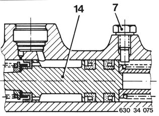
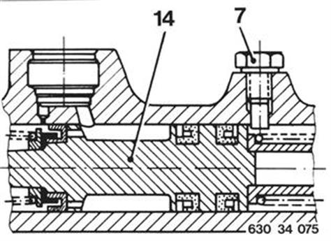
			 Zwischenkolben (14) durch leichte Schläge des Gehäuses auf einer Holzunterlage herausklopfen. Feder (15), Stützring (16), Primärmanschette (17) und Fallscheibe (18) abziehen. Trennmanschetten (19) ausheben. Einbauhinweis: Trennmanschetten (19) im Rep.-Satz sind mit einem Farbring gekennzeichnet. Trennmanschetten (19) so montieren, daß beide Lippen entgegengesetzt zeigen. Auf Stützring (16) achten, muß einwandfrei an Primärmanschette (17) anliegen. |  | 
| 
			 Alle Teile mit Spiritus reinigen. Tandem-Hauptbremszylinder mit Oberflächenschäden in der Zylinderbohrung dürfen nicht mehr eingebaut werden. Neuteile hauchdünn mit Ate-Zylinderpaste einbauen. Tandem-Hauptzylinder so in den Schraubstock spannen, daß die Zylinderbohrung schräg nach unten zeigt, da sonst der Stützring beim Zusammenbau verrutschen kann. Damit die Manschette nicht beschädigt werden, Kolben mit der Hülse 34 3 000 einbauen. |  | 
| 
			 Achtung! Einbaulage Kolben (14) und Anschlagschraube (7). |  | 







