| 
			 Fahrzeuge vor Modellwechsel 1982  GUMMILAGER FÜR HINTERACHSTRÄGER ERSETZEN Hinterachsträger abstützen. Schubstrebe ausbauen 33 33 001. Gummilager vom Hinterachsträger lösen. Einbauhinweis: Anziehdrehmoment¹).  33 33 001  ¹) Siehe technische Daten |  | 
| 
			 Hinterachsträger nach vorn drücken und Gummilager herausnehmen. |  | 
| 
			 Fahrzeuge nach Modellwechsel 1982  GUMMILAGER FÜR HINTERACHTSTRÄGER ERSETZEN Hintersitz ausbauen. Schubstrebe abbauen. Einbauhinweis: Anziehdrehmoment*). Selbstsichernde Mutter erneuern.  *) Siehe Technische Daten |  | 
| 
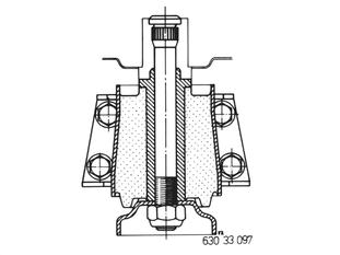
			 Gewindebolzen nach oben durchschlagen. Achtung! Gewinde nicht beschädigen. Ggf. überstehenden Gummi an den Aussparungen ausschneiden. |  | 
| 
			 Längslenker absenken. Formscheibe 33 3 102 zwischen Karosserie und Hinterachsträger auf das Gummilager legen und die Gewindespindel 33 3 101 eindrehen. Abzieher 00 8 550 mit den Klauen in den Aussparungen ansetzen, mit der Gewindespindel 33 3 101 verschrauben und Gummilager herausziehen. |  | 
| 
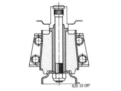
			 Formscheibe 33 3 106 zwischen Karosserie und  Hinterachsträger am Rande der Aufnahmebüchse auflegen und die Spindel 33 3 103 eindrehen. Gummilager mit Cresta verdünnt, Einschiebeöl II oder entspanntem Wasser bestreichen und am Hinterachsträger ansetzen, mit der Formscheibe 33 3 105 und der Mutter 33 3 104 einziehen. |  | 







