| 
			 Fahrzeuge vor Modellwechsel 1982  FALTENBALG ERSETZEN -REPARATURSATZ VERWENDEN- Abtriebswelle aus- und einbauen 33 21 000. Dichtdeckel (1) ausheben. Seegerring (2) abnehmen. Noppenbinder am Faltenbalg lösen. Abtriebswelle aus Gelenk (3) pressen. Faltenbalg (4) abstreifen.  33 21 000 |  | 
| 
			 Faltenbalg auf Abtriebswelle stecken. Verzahnung und Gelenk fettfrei säubern. Verzahnung mit Loctite 270 bestreichen und Gelenk aufpressen. Seegerring einsetzen. |  | 
| 
			 Gelenk und Faltenbalg mit Fett¹) befüllen. Dichtflächen für Faltenbalg fettfrei säubern. Faltenbalg mit Klebstoff¹) bestreichen und mit neuen Schlauchbindern befestigen. Dichtdeckel mit Curil abdichten und anbauen.  ¹) Siehe technische Daten |  | 
| 
			 Fahrzeuge nach Modellwechsel 1982  FALTENBALG ERSETZEN Abtriebswelle aus- und einbauen 33 21 000. Dichtdeckel (1) abdrücken. Sicherungsring (2) abnehmen. Noppenbinder am Faltenbalg lösen. Faltenbalg abstreifen. Deckel (3) abdrücken.  33 21 000 |  | 
| 
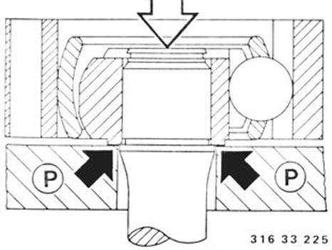
			 Abtriebswelle aus Gleichlaufgelenk pressen. |  | 
| 
			 Achtung! Lagerinnenring muß auf Gegendruckplatte (P) liegen. Gelenk nicht zerlegen. Gelenk auf Verschmutzung oder Beschädigung prüfen. |  | 
| 
			 Faltenbalg und inneren Deckel auf Abtriebswelle  stecken. Das Gelenk muß mit dem Bund am Innenring zur Abtriebswelle angesetzt werden. Achtung! Reparatur-Satz verwenden. |  | 
| 
			 Verzahnung vom Gelenk fettfrei säubern. Verzahnung mit Loctite Nr. 270 bestreichen. Achtung! Kein Loctite in die Kugelbahnen bringen. |  | 
| 
			 Gelenk mit Kappe aufpressen und Sicherungsring  einsetzen. Einbauhinweis: Wird nur eine Seite zerlegt, so muß zum Aufpressen des Gelenkes der Dichtdeckel der anderen Seite abgebaut werden. |  | 
| 
			 Gelenk und Faltenbalg mit Fett*) befüllen. Dichtflächen für Faltenbalg fettfrei säubern. Faltenbalg am großen Durchmesser mit Klebstoff*) bestreichen und mit neuen Schlauchbindern befestigen. Dichtdeckel mit Curil abdichten und anbauen.  *) Siehe Technische Daten |  | 







