| 
			 Fahrzeuge vor Modellwechsel 1982  SPERRDIFFERENTIAL KPL. ERSETZEN Funktionsprüfung im eingebauten Zustand: a) Ebener Werkstattboden. b) Fahrzeug mit dem linken Hinterrad auf das Rollengestell 33 1 450 fahren. c) Handbremse völlig lösen. d) 1. Gang einlegen und Motor beschleunigen. e) Das Sperrdifferential ist funktionsmäßig in Ordnung, wenn sich das Fahrzeug vom Rollengestell 33 1 450 fahren läßt. |  | 
| 
			 Hinterachsgetriebe aus- und einbauen 33 10 010. Öl ablassen. Hinterachsgetriebe am Aufnahmebügel 33 1 060 befestigen, dazu Ölablaßschraube (1) herausdrehen.  33 10 010 |  | 
| 
			 Gesamtreibwert vor der Demontage mit Reibwertmesser 00 2 000 ermitteln und notieren. Z.B. 180 Ncm |  | 
| 
			 A) Alte Ausführung: Mitnehmerflansche mit Halteschlüssel 33 1 100 gegenhalten. Befestigungsschrauben lösen. Einbauhinweis: Anziehdrehmoment¹).  ¹) Siehe technische Daten |  | 
| 
			 Mitnehmerflansche mit 33 1 250 abziehen. |  | 
| 
			 B) Neue Ausführung: Mitnehmerflansch mit Abzieher 33 1 250 abziehen. |  | 
| 
			 Einbauhinweis: Vor Montage des Mitnehmerflansches ist der Runddrahtsprengring (1) so in die Nut des Ausgleichgehäuses einzulegen, daß beide Enden des Runddrahtsprengringes in der Nut versenkt sind. Hierdurch wird ein seitliches Verbiegen des Ringes verhindert. Mitnehmerflansch von Hand und durch leichtes Drehen eindrücken, bis Runddrahtsprengring hörbar einrastet. Ausgedehnte Sprengringe ersetzen. |  | 
| 
			 Deckel abbauen und Sperrdifferential herausnehmen. Einbauhinweis: O-Ring prüfen, ggf. ersetzen. Anziehdrehmoment¹).  ¹) Siehe technische Daten |  | 
| 
			 Tellerrad und Kegelrollenlager abbauen. Einbauhinweis: Tellerrad und Kegelrollenlager kalt anbauen. Schraubengewinde säubern. Schrauben mit Loctite¹) einsetzen. Anziehdrehmoment¹).  ¹) Siehe technische Daten |  | 
| 
			 Das neue Sperrdifferential mit Tellerrad einbauen. Deckelbefestigungsschrauben gleichmäßig anziehen. Anziehdrehmoment¹). Dabei Gesamtreibwert mit Reibwertmesser 00 2 000 prüfen. Es muß der Reibwert vor der Demontage erreicht, darf aber nicht überschritten werden. Reibwert ist zu hoch, kleinere Ausgleichscheibe einbauen. Reibwert ist zu niedrig, größere Ausgleichscheibe einbauen.  ¹) Siehe technische Daten |  | 
| 
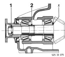
			 Verdrehflankenspiel und Tragbild mit den Ausgleichscheiben (2) einstellen. Ausgleichscheiben (2) so lange von der einen auf die andere Seite wechseln, bis Verdrehflankenspiel¹) und Tragbild stimmen. Auf keinen Fall darf die Gesamtdicke der Ausgleichscheiben verändert werden.  ¹) Siehe technische Daten |  | 
| 
			 Sollte das Tragbild nicht stimmen, muß die Einstellung mit der Paßscheibe X verändert werden - siehe Grundregeln zur Tragbildeinstellung. Achtung! Vor Lösen der Bundmutter (1) Reibwert ermitteln. Spannbüchse (2) grundsätzlich ersetzen. Antriebskegelradlager auf den vor dem Zerlegen gemessenen Reibwert einstellen. Dabei muß die Bundmutter mit mind. 150 Nm angezogen sein. Werden 150 Nm nicht erreicht oder überschritten, muß die Spannbüchse (2) ersetzt und der Meßvorgang wiederholt werden. |  | 







