Fahrzeuge nach Modellwechsel 1982
Allgemeine Hinweis:
- Bei Unfällen oder unfallähnlichen Fahrzuständen können durch stoßartige
Belastungen Schäden am Lenkgetriebe auftreten. Aus Sicherheitsgründen sind die
Werksvorschriften - siehe Service Information 32 01 88 (828) - zu beachten.

 
ALLGEMEINE HINWEISE UND BEGRIFFE
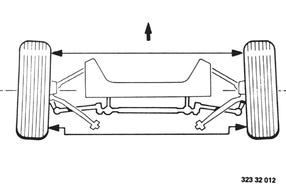
Vorspur
Ist die Verringerung des Abstandes der Vorderräder
vorn gegenüber hinten. Die Vorspur verhindert
das Auseinanderlaufen der Räder
während der Fahrt und damit ein Flattern
und Radieren der Räder, einen übergroßen
Reifenverschleiß, eine zu starke Beanspruchung
des Lenkgestänges und seiner Gelenke sowie
ein erschwertes Lenken des Kraftfahrzeuges.
Die Messung erfolgt bei "Fahrt geradeaus".

32332012 - Zum Vergrößern klicken
 
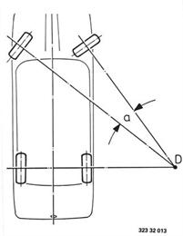
Spurdifferenzwinkel
Ist die Winkeleinstellung des Kurveninnenrades
zum Kurvenaußenrad bei Kurvenfahrt. Die
Lenkung ist so konstruiert, daß sich die Winkelstellung
der Räder bei zunehmendem Lenkeinschlag
ändert. Der Spurdifferenzwinkel gibt
Auskunft über die jeweiligen Arbeitsweise
des Lenktrapezes bei Links- und Rechtseinschlag
der Lenkung von der Mittelstellung
aus. Ein richtig eingesteller Spurdifferenzwinkel
ergibt gleichgroße Werte beim Links- und
Rechtseinschlag unter Berücksichtigung
der zulässigen Werkstoleranzen.
a = Spurdidfferenzwinkel
D = Laufkreismittelpunkt

32332013 - Zum Vergrößern klicken
 
Sturz
ist die Neigung des Rades gegen die Fahrzeuglängsebene,
gemessen in der Fahrzeugquerebene
bei "Fahrt geradeaus".

32332014 - Zum Vergrößern klicken
 
Spreizung
ist der Winkel um den der Achsschenkelbolzen*)
gegenüber der Senkrechten zur
Querachse des Fahrzeuges nach innen
geneigt ist.
Durch die Spreizung entstehen Rückstellkräfte,
die nach dem Befahren einer Kurve
Räder und Lenkrad wieder in die Geradeausstellung
bringen.
Sturz und Spreizung bestimmen die Lage
des Berührungspunktes der Räder mit der
Fahrbahn.
Durch die Spreizung wird der Hebelarm,
an dem die Reibungskräfte angreifen, geringer,
was das Einschlagen der Räder
erleichtert.
Weiter wirken sich die Fahrbahnstöße
nicht so stark auf die Lenkung aus.
*) Dem "Achsschenkelbolzen" entspricht
die Linie durch den Mittelpunkt von
Federbeinstützlager und Querlenkerkugelgelenk

32332015 - Zum Vergrößern klicken
 
Nachlauf
ist die Neigung des Achsschenkelbolzens*)
in Fahrtrichtung von der Seite gesehen.
Durch den Nachlauf werden die Räder
gezogen und nicht geschoben. Bei Kurvenfahrt
werden, ähnlich wie bei der Spreizung,
Rückstellkräfte frei, die zusammen die Geradeausstellung
der Räder unterstützen.
*) Dem "Achsschenkelbolzen" entspricht
die Linie durch den Mittelpunkt von
Federbeinstützlager und Querlenkerkugelgelenk

32332016 - Zum Vergrößern klicken
 
Geometrische Fahrachse1
ist die Winkelhalbierende aus der Hinterradgesamtspur.
Auf diese Achse werden die
Messungen der Vorderräder bezogen.

32332017 - Zum Vergrößern klicken
 
Die Symmetrieachse 2
stellt die Mittellinie durch die Vorder- und
Hinterachse dar.

32332036 - Zum Vergrößern klicken
 
Radversatz
ist der Winkel, um den ein Vorderrad gegenüber
dem anderen nach vorne bzw. nach hinten versetzt
ist.

32332036 - Zum Vergrößern klicken