Fahrzeuge nach Modellwechsel 1982 LAGER (RADNABE) FÜR VORDERRAD ERSETZEN Vorderrad ab- und anbauen 36 10 300. Schrauben (1) lösen. Einbauhinweis: Anziehdrehmoment*). *) Siehe Technische Daten Gr. 34 36 10 300
| ![]() |
Bremssattel abziehen und hochbinden. Kabel und Bremsleitung bleiben angeschlossen. Schraube (2) mit Werkzeug 34 1 020 lösen. Bremsscheibe abnehmen. | ![]() |
Verschlußkappe abdrücken. Sicherungsrand der Mutter aus Nut aufstemmen. Mutter mit Stecknuß 31 2 080 lösen. | ![]() |
Lagereinheit (2) und Abziehmanschette (3) mit Werkzeug 31 2 100 abziehen. | ![]() |
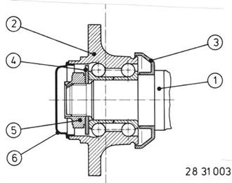
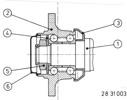
Radlagerung 1 = Achsstummel 2 = Lagereinheit 3 = Manschette 4 = Scheibe 5 = Mutter 6 = Verschlußkappe Achtung! Lagereinheit ist lebensdauergeschmiert und nicht zerlegbar. | ![]() |
Manschette (3) am Achsstummel ansetzen. Lagereinheit (2) und Manschette (3) mit Werkzeug 31 2 110 aufziehen. | ![]() |
Scheibe (4) und neue Mutter (5) anbauen. Mutter auf Anziehdrehmoment*) festziehen und sichern (verstemmen). Verschlußkappe nur einmal verwenden. Neue Kappe mit Dichtungsmittel HWB Nr. 81 22 8 407 420 einbauen. *) Siehe Technische Daten Gr. 31
| ![]() |
*) Siehe Technische Daten Gr. 34





