Fahrzeuge nach Modellwechsel 1982 Fehlersuche an der Gelenkwelle *) Anziehdrehmoment siehe Technische Daten
| |
VIBRATIONEN UND GERÄSCHE DER GELENKWELLE BESEITIGEN Bei Vibrationen oder Brummen: ---------------------------------------------------------- Voraussetzung: Gelenkwelle ist optisch in Ordnung. Bei fehlenden Wuchtblechen und Verdacht auf Unwucht der Gelenkwelle, Gelenkwelle auswuchten. (Siehe Gebrauchsanweisung des Wuchtgerätes). Achtung! Probelaufen bei aufgebocktem Fahrzeug nur mit unterstützten Radaufhängungen an den angetriebenen Rädern. (Beugewinkel der Abtriebswelle). Die angegebene Höchstgeschwindigkeit des Fahrzeuges darf im aufgebockten Zustand und auf der Rolle keinesfalls überschritten werden. Sicherheitsvorkehrungen beachten! | ![]() |
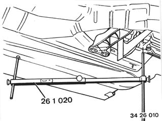
Gelenkwelle ausmitteln: Auspuffanlage, Motorgummilager und Getriebequerlenker lockern. Lehre 26 1 020 ansetzen. | ![]() |
Ansetzpunkte: Meßpunkte am Motorträger hinten. Bei Schaltgetriebe Gußrippe (Meßpunkt durch Körner zeichnen). Bei Automatikgetriebe Mitte Ölablaßschraube. | ![]() |
Gebriebe seitlich verschieben bis Meßlehre links und rechts gleiches Maß aufweist. | ![]() |
Beugewinkel der Gelenkwelle prüfen: -------------------------------------------------------------------- Meßlehre 26 1 030 an Ölwannenflansch anlegen. | ![]() |
Wenn der Ölwannenflansch nicht zugänglich ist: Meßlehre 26 1 030 mit Hilfsschiene (Stahllineal) am Schwingungstilger anlegen. | ![]() |
Zeiger mit der Libelle senkrecht stellen. Gradzahl ablesen. Hinweis: Meßlehre immer mit der Skala in der gleichen Richtung (z. B. Skala rechts) anlegen. Ein Teilstrich = 5`. Die Lage des Fahrzeuges ist unwichtig, da nur die einzelnen Winkel verglichen werden. | ![]() |
Meßlehre an Gelenkwellenvorderteil anlegen und Neigungswinkel feststellen. Beugewinkel *) der Gelenkscheibe ermitteln und ggf. durch Unterlegen von Scheiben (max. 3 mm) an der Getriebeaufhängung oder am Mittellager korrigieren. Berechnungsbeispiel: Motorneigung 2° 16´ Gelenkwellenneigung - 2° 06` ----------- Beugewinkel der Gelenkscheibe + 0° 10` Hinweis: Bei der Korrektur eines Beugewinkels durch Unterlegen von Scheiben ist zu berücksichtigen, daß sich die Beugewinkel der angrenzenden Gelenke ebenfalls verändern. Generell ist ein möglichst geringer Beugewinkel an den Gelenken anzustreben. *) Siehe Technische Daten
| ![]() |
Auspuffanlage hinten ausbauen. Meßlehre am Gelenkwellenhinterteil anlegen und Neigungswinkel feststellen. Beugewinkel*) des Mittellagers ermitteln und ggf. durch Unterlegen von Scheiben (max. 3 mm) an der Getriebeaufhängung oder am Mittellager korrigieren. *) Siehe Technische Daten
| ![]() |
Meßlehre an Hinterachsgetriebe mit Hilfsschiene (Stahllineal) anlegen und Neigungswinkel feststellen. Beugewinkel *) des Kreuzgelenkes ermitteln und ggf. durch Unterlegen von Scheiben (max. 3 mm) am Mittellager korrigieren. *) Siehe Technische Daten
| ![]() |
Bei Schwergängigkeit am Schiebestück: ------------------------------------------------------------------------- Hinweis: Die Gelenkwelle ist im Strang gewuchtet und darf im Schiebestück nicht verdreht werden. Nicht gezeichnete Gelenkwelle durch Körner anzeichnen. | ![]() |
Schraubbüchse (1), Scheibe (2) und Gummiring (3) abnehmen. Gummiring prüfen, ggf. ersetzen. Gelenkwelle am Schiebestück trennen. Keilbahn reinigen und mit Longterm 2**) fetten. Gelenkwelle so zusammenbauen, daß Körnerpunkte gegenüberliegen. **) Bezugsnachweis HWB | ![]() |
Hinweis: Die Gelenkwellenhälften sind so montiert, daß die Kreuzgelenke in einer Ebene liegen. Wurde das Schiebestück irrtümlich ohne Markierung zerlegt, ist lediglich eine durch das Wuchten bedingte Falschmontage um 180° möglich. | ![]() |
Nach erfolgtem Einbau: Schraubbüchse mit Werkzeug 26 1 040 festziehen. Anziehdrehmoment*) beachten. *) Siehe Technische Daten
| ![]() |
*) Anziehdrehmoment siehe Technische Daten












