Fahrzeuge nach Modellwechsel 1982 FEHLERSUCHE AM AUTOMATIKGETRIEBE 4 HP 22/H + EH | |
FEHLERSUCHE AM SCHALTGERÄT 4 HP 22/ EH | |
Fehlersuche am Automatikgetriebe 4 HP 22 / EH Für nachfolgende Fehlersuche sind folgende Punkte zu beachten: a) Motor läuffähig (Ventile, DME und Leerlauf i. O.) b) Störanzeige, Programmanzeige und Positionsanzeige i. O. c) Batterie, Stecker und Massepunkte i. O. d) Getriebeöl i. O. Allgemeine wichtige Hinweise um Schäden an Motor, Getriebe und Steuergeräten zu vermeiden. a) Motor nur mit fest angeschlossene Batterie starten b) Falschpolung der Versorgungsspannung z. B. verkehrt angeschlossene Batterie bzw. größere Versorungsspannung als 15 V C) Zum Starten des Motors keinen Schnellader verweden d) Batterie vor dem Schnellladen abklemmen e) Batterie bei laufendem Motor nicht abklemmen f) Starthilfe nur mit Starthilfekabel und nur mit zweiter 12 V Batterie durchführen g) Stecker am Steuergerät nur bei ausgeschalteter Zündung ab- und anbauen h) Messungen bei angeschlossenem Steuergerät dürfen nur mit hochohmigen Meßgeräten (BMW SERVICE TEST) durchgeführt werden | |
Anordnung Schaltbild - AEGS 1 AEGS-Steuergerät 2 Kick-down-Schalter 3 Programmschalter 4 Positionsschalter 5 Getriebe 6 Störanzeige 7 Zündung 8 Einspritzung 9 DME-Steuergerät 10 Luftmengenmesser 11 Drehzahlfühler Motor 12 Drosselklappengeber 13 Temperaturfühler Y1 Magnetventil 1.-2. sowie 3.-4. Gang Y2 Magnetventil 2.-3. Gang Y3 Magnetventil WK Y4 Magnetventil 5-Gangsperre Y5 Druckregler Y6 Impulsgeber TD Drehzahlinformation ti Lastsignal VL Vollast-Ausgang ME Motoreingriff (Zündwinkel) PS Positionsschalter | ![]() |
Steckerbelegung der 35-poligen Steckerleiste am AEGS-Steuergerät MV Magnetventile KD Kick-Down DK Drosselklappenpotentiometer DKs Lastsignal DK-Potentiometer WK Wandlerüberbrückungskupplung ti Einspritzsignal | |
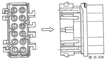
Anordung Steckerbelegung Getriebekabelbaum A Anschluß Getriebe B Anschluß Kabelbaum Pin 1 Druckregler Pin 2 Magnetventil R-Gang Pin 3 Drehzahlfühler Pin 4 Drehzahlfühler Pin 5 Magnetventil 1...4 Gang Pin 6 Magnetventil 2./3. Gang Pin 7 Magnetventil WK Pin 8 Magnetventil + | ![]() |
Anordung Steckverbindung AEGS Einbauort: Stirnwand rechts innen ##X ##X ##XKabelfarbe ##X1ME ##XMotoreingriff / Zündwinkel ##XBR/GR ##X2 DME + ##XDigitale Motor Elektronik ##XRT/BL ##X3 WK ##XWandlerkupplung ##XBL ##X4 DKs ##XSignal Drosselklappenpotentiometer ##XGE ##X5 DK + ##XVersorgungsspannung ##XSW ##X6 DK - ##XDrosselklappenpotentiometer ##XBR ##X7 TR ##XDrehzahlsignal ##XBR/GN ##X8 ti ##XEinspritzsignal ##XWS/SW ##X9 P,N ##XGanganzeige ##XSW/BR ##X10 Bat - ##XBatterie ##XBR ##X11 - ##X ##X- ##X12 - ##X ##X- | ![]() |
Prüfplan 4 HP - 22 / AEGS Das AEGS Steuergerät befindet sich unter der Instrumententafel links. Verkleidung für Instrumententafel unten links abbauen 51 45 180. Achtung! Einbauhinweis: Der Stecker (3) darf in keinem Fall bei eingeschalteter Zündung ab- bzw. aufgesteckt werden. Bei allen Prüfungen / Peripherie / Adapter (1) HWB-Nr. 81 12 9 425 091 in Verbindung mit Anschlußkabel (2) HWB-Nr. 81 12 9 425 092 mit dem Stecker (3) verbinden. Bei Prüfungen in Verbindung mit dem AEGS- Steuergerät Anschlußkabel HWB-Nr. 81 12 9 425 093 zwischen Adapter und Steuergerät einbauen. Prüfposition 1 Masseleitung Unterbrechung. Masseleitung nach Schaltplan instandsetzen. Voraussetzung bei allen Prüfungen Masseleitung i. O nein Anschluß Motorkabelbaum Pin 5 / 19 Masseleitung 5 und 19 auf einwandfreie Verbindung zum Verbinder Masse. Verbindung herstellen. prüfen. Steckhülse verbogen. Steckhülse instandsetzen Signal Drosselklappenschalter siehe 13 63 544. 51 45 180
| ![]() |
Erklärung zur autarken ekletronischen Getriebesteuerung (AEGS) Bei jedem Start des Motors erfolgt ein umfangreicher Test der gesamten AEGS. Zündung einschalten. Die Störanzeige, gelbe Lampe, im Armaturenbrett blinkt zweimal kurz, muß dann beim Starten brennen und bei einer Motordrehzahl von über 450/min erlöschen. Fehlersuche siehe auch Service-Information 24 02 85 (422). |



51 45 180