KUPPLUNGSGEBERZYLINDER
ÜBERHOLEN (AUSGEBAUT)
Geberzylinder und Innenteile mit Spiritus
reinigen. Bei Riefen oder Korrosionsstellen in der
Zylinderbohrung. Geberzylinder kpl. ersetzen.
Reparatursatz einbauen.
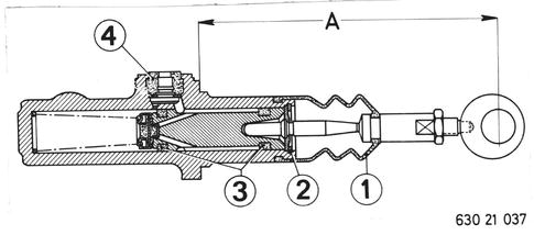
Bestehend aus:
1 Schutzkappe
2 Sicherungsring
3 Nutringe
4 Dichtstopfen
5 Scheibe
Einstellmaß A 140 ± 0,5 mm

63021037 - Zum Vergrößern klicken
 
Fahrzeuge nach Modellwechsel 1982
Kupplungsgeberzylinder überholen (ausgebaut)
Geberzylinder und Innenteile mit
Spiritus reinigen.
Bei Riefen oder Korrosionsstellen in der
Zylinderbohrung Geberzylinder kompl. ersetzen.
Reparatursatz einbauen.
Hinweis:
Reparatursatz nur vom betreffenden
Hersteller des Geberzylinders verwenden.
Bestehend aus:
1 Kolben kompl.
2 Sicherungsring
3 Schutzkappe
4 Dichtstopfen
5 Druckfeder
Zylinderbohrung und Nutringe mit Bremszylinderpaste -
ATE *) leicht bestreichen.
*) Bezugsnachweis HWB

3021008 - Zum Vergrößern klicken