Fahrzeuge nach Modellwechsel 1982
Impulsgeber auf festen Sitz und Beschädigung prüfen.

3212102 - Zum Vergrößern klicken
 
Steckverbindung trennen.

3212123 - Zum Vergrößern klicken
 
Multimeter (M 06):
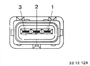
Steckverbindung trennen, Widerstand zwischen
1 und 2 messen = 520 Ohm ~± 5%.
Isolationsprüfung durchführen = > 100 k

3212128 - Zum Vergrößern klicken
 
Oszilloscope an Anschluß 1 und 2 des
Impulsgebers anschließen (M 22/23).
Motor mit Anlasser durchdrehen.
Am Bildschirm soll abgebildetes Signal erscheinen.

3212129 - Zum Vergrößern klicken
 
Kontrolle des Inkrementenrades:
1. OT-Markierung muß in der Mitte eines Zahnes liegen.
2. Von der OT-Markierung ausgehend in Motordrehrichtung
muß sich nach 9 Zähnen die Lücke befinden.
Ist dies nicht der Fall-Schwingungsdämpfer erneuern.

3212145 - Zum Vergrößern klicken