Fahrzeuge nach Modellwechsel 1982
Abdeckung abnehmen.
Entstörstecker der Zylinder Nr. 6 = an
Zündleitung angebracht, abziehen und
Zündleitung abtrennen.
Geber von der Zündleitung abtrennen.

2812009 - Zum Vergrößern klicken
 

Steckverbindung trennen - Kabel abnehmen.
Neuen Geber aufstecken.

3212122 - Zum Vergrößern klicken
 
Entstörstecker anbringen.
Siehe Baugruppe Pos. 12 12 072.


Siehe auch Siehe technische Daten
3212135 - Zum Vergrößern klicken
 
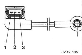
Geber prüfen:
Widerstand der Spule zwischen Leitung 1 und 2 messen.
Sollwert *).
*) Siehe Technische Daten

3212105 - Zum Vergrößern klicken