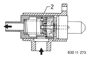
ZUSATZLUFTSCHIEBER ERSETZEN Der Zusatzluftschieber muß bei Kühlmitteltemperaturen von -20°C ganz geöffnet und bei +70°C geschlossen sein. Prüfung bei kaltem Motor: Luftschläuche am Sammler und Drosselklappenstutzen abbauen und hineinblasen. Es muß Luftdurchgang vorhanden sein. Kein Luftdurchgang Zusatzluftschieber defekt. Prüfung bei warmem Motor: Im Leerlauf Schlauch zwischen Zusatzluftschieber und Sammler zusammenklemmen. Dabei darf sich die Motordrehzahl nicht verändern. Motordrehzahl verändert sich Steuerkolben (2) klemmt. Zusatzluftschieber ersetzen. | ![]() |
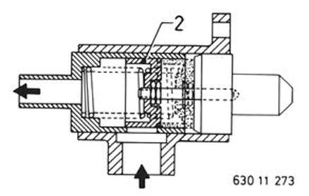
Kühlwasser ablassen. Einbauhinweis: Kühlsystem entlüften 17 00 039. Schläuche abbauen. Zusatzluftschieber vom Gehäuse abbauen. Einbauhinweis: Dichtung ersetzen. 17 00 039
| ![]() |

17 00 039