EINE PLEUELBÜCHSE ERSETZEN -PLEUEL AUSGEBAUT- Im Ersatzteildienst sind Pleuelstangen mit bearbeiteten Pleuelbüchsen erhältlich. Alte Pleuelbüchsen herauspressen. Einbauhinweis: Stoßende der neuen Pleuelbüchse in 90°. Winkel zur Ölbohrung einpressen. | ![]() |
Ölbohrungen anbringen, säubern und entgraten. Pleuelbüchse aufreiben¹). Der Kolbenbolzen muß unter leichtem Druck durch die Pleuelbüchse gleiten. ¹) Laufspiel Kolbenbolzen siehe technische Daten
| ![]() |
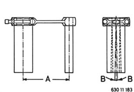
Pleuelstange auf Parallelitätsabweichung (A) und zulässige maximale Verdrehung (B) prüfen und ausrichten. A 150 - 0,04 mm B 0° - 30´ | ![]() |

¹) Laufspiel Kolbenbolzen siehe technische Daten
